1
         / 
        of
        1
      
      
    Janome
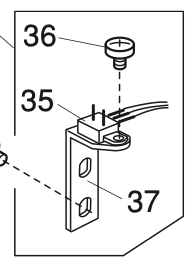
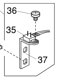
859671107 Needle plate sensor (unit)
859671107 Needle plate sensor (unit)
Regular price
          
            $22.75 USD
          
      
          Regular price
          
            
              
                
              
            
          Sale price
        
          $22.75 USD
        
      
      
        Unit price
        
          
          /
           per 
          
          
        
      
    Shipping calculated at checkout.
Couldn't load pickup availability
859671107 Needle plate sensor (unit)
Low stock: 2 left
We stock most parts, but for less popular items, we will special order the item for you from the manufacturer. This process may take an extra 10-14 days, and you will receive email updates throughout.
Share

 
          